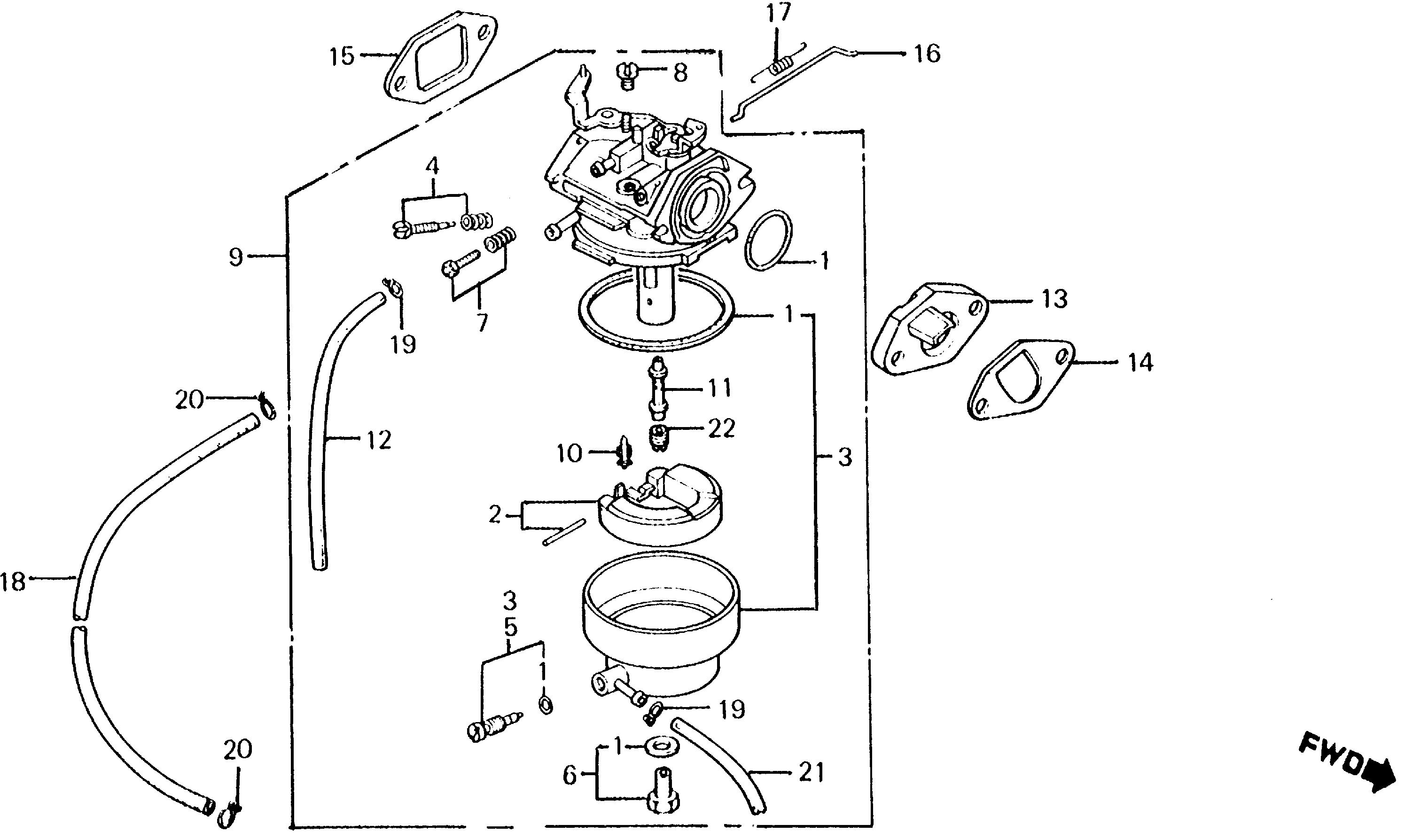
Generators EX EX800 EX800 A G100-1287874-9999999 CARBURETOR - Al Lamb's Dallas Honda

Ref No
Part Number
Description
Serial Range
Qty
Price

Ref No
1
Part Number
16010-ZA7-005
Description
GASKET SET (NOT AVAILABLE)
Serial Range
1000001 - 9999999

Ref No
2
Part Number
16013-883-005
Description
FLOAT SET
Serial Range
1000001 - 9999999
Qty
Price
$37.64

Ref No
3
Part Number
16015-ZA7-005
Description
CHAMBER SET, FLOAT (NOT AVAILABLE)
Serial Range
1000001 - 9999999

Ref No
4
Part Number
16016-892-005
Description
SCREW SET A (NOT AVAILABLE)
Serial Range
1000001 - 9999999

Ref No
5
Part Number
16024-ZA7-005
Description
SCREW SET, DRAIN (NOT AVAILABLE)
Serial Range
1000001 - 9999999

Ref No
6
Part Number
16028-883-005
Description
SCREW SET B
Serial Range
1000001 - 9999999

Ref No
6
Part Number
16028-ZK7-S91
Description
SCREW SET
Serial Range
1000001 - 9999999
Qty
Price
$13.14

Ref No
7
Part Number
16028-892-005
Description
SCREW SET B (NOT AVAILABLE)
Serial Range
1000001 - 9999999

Ref No
8
Part Number
16071-881-003
Description
SCREW, PLUG (NOT AVAILABLE)
Serial Range
1000001 - 9999999

Ref No
9
Part Number
16100-ZA7-005
Description
CARBURETOR ASSY. (BB08D A) (NOT AVAILABLE)
Serial Range
1000001 - 9999999

Ref No
10
Part Number
16155-883-005
Description
VALVE, FLOAT
Serial Range
1000001 - 9999999

Ref No
11
Part Number
16166-ZA7-005
Description
NOZZLE, MAIN (NOT AVAILABLE)
Serial Range
1000001 - 9999999

Ref No
12
Part Number
16199-ZA7-005
Description
TUBE, AIR VENT (NOT AVAILABLE)
Serial Range
1000001 - 9999999

Ref No
13
Part Number
16211-ZA7-000
Description
INSULATOR, CARBURETOR
Serial Range
1000001 - 9999999

Ref No
14
Part Number
16212-896-306
Description
GASKET, INSULATOR
Serial Range
1000001 - 9999999

Ref No
15
Part Number
16269-892-000
Description
GASKET, AIR CLEANER (NOT AVAILABLE)
Serial Range
1000001 - 9999999

Ref No
16
Part Number
16555-896-000
Description
ROD, GOVERNOR (NOT AVAILABLE)
Serial Range
1000001 - 9999999

Ref No
17
Part Number
16562-ZA7-000
Description
SPRING, THROTTLE RETURN
Serial Range
1000001 - 9999999

Ref No
18
Part Number
95001-45001-50M
Description
BULK HOSE, FUEL (4.5X1000) (4.5X400)
Serial Range
1000001 - 9999999
Qty
Price
$49.50

Ref No
19
Part Number
95002-02650
Description
CLIP, TUBE (B6.5)
Serial Range
1000001 - 9999999
Qty
Price
$1.80

Ref No
20
Part Number
95002-40850-08
Description
CLAMP, TUBE (D8.5)
Serial Range
1000001 - 9999999
Qty
Price
$3.08

Ref No
21
Part Number
95003-07008-60M
Description
BULK HOSE, VINYL (4X7X8000) (4X7X160)
Serial Range
1000001 - 9999999
Qty
Price
$34.56

Ref No
22
Part Number
99101-124-0520
Description
JET, MAIN (#52)
Serial Range
1000001 - 9999999
Qty
Price
$12.08

Ref No
22
Part Number
99101-124-0550
Description
JET, MAIN (#55)
Serial Range
1000001 - 9999999
Qty
Price
$11.60

Ref No
22
Part Number
99101-124-0580
Description
JET, MAIN (#58)
Serial Range
1000001 - 9999999
Qty
Price
$10.98